《IEEE Transactions on Circuits and Systems I: Regular Papers(TCAS-I)》近日在线刊发了我院毕晓君教授团队关于始终数据恢复电路CDR芯片的最新研究成果“28GbaudPAM-4Burst-ModeCDRwithReconfigurableSamplingScheme”。我院毕晓君教授为论文唯一通讯作者,我院博士生古真为论文第一作者,williamhill中文为论文第一完成单位。
无源光通信网络常常应用在OLT与各个用户之间,通过复用同一根光纤减少网络成本。图1展示了一个典型的无源光通信网络模型,通常使用突发模式实现OLT与终端用户之间的通信。ITU-T致力于发展更高速率的无源光通信网络,一个可能的方案为在传输中引入PAM-4编码。目前传统突发模式CDR主要聚焦于NRZ格式编码,所使用的快速相位锁定方案通常需要对信号进行逻辑门运算,并不能直接适用于PAM-4信号。基于此,本论文提出了基于采样相位可重配置的快速相位锁定方案。

图1典型PON系统框图
图2展示了PAM-4快速相位锁定方案的示意图,整个方案基于Quarter-Rate采样架构。在前导码阶段(Preamble),原本用于PAM-4采样的4组采样器将重新分配相位,此时仅3个采样器工作,他们的采样相位间隔为30°。

图2相位可重配置方案框图
图3展示了本文提出的方案是进行相位信息判断的方法。若我们假设前导码为01交替出现,如图3(a)所示,此时我们规定3个采样器的采样结果为111/000时相位为超前;3个采样器的采样结果为100/011时相位为滞后。由于相位间隔为30°,因此相位最大的平移幅度仅为30°,有利于相位的快速锁定。当3个采样器的采样结果为110/001时,相位接近锁定,此时电路将把锁定方式转换为Bang-Bang模式,实现最后的相位对准。该相位锁定方案不仅局限于01交替出现的前导码,只要前导码的连续0/1序列长度不超过4周期,均可适用,如图3(b)所示。

(a)

(b)
图3(a)01交替前导码下相位锁定原理,(b)任意前导码下相位锁定原理
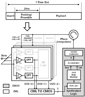
图4为整体电路的框图,整个CDR集成了两套相位锁定方案:等效过采样方案以及Bang-Bang相位锁定方案;参考时钟需要外部输入,并通过片内的IQ生成器产生正交时钟,传输给相位合成器。图5为整体芯片照片以及测试板实物图。图6为实际测试的实时示波器波形。在28GbaudPAM-4输入下,CDR芯片的最后相位锁定时间为10ns。

图4整体电路框图

图5芯片照片与测试板实物

图6突发模式实际测试结果
williamhill中文毕晓君教授主要从事高速光通信集成电路、毫米波集成电路、超高速封装设计方面的研究工作。入选国家级青年人才计划、承担国家重点研发计划课题2项、国家自然科学基金项目3项、业界龙头企业合作研究项目多项;突破多项硅基光通信集成电路、毫米波集成电路的性能瓶颈,包括:率先实现硅基130 GBaud+硅基驱动放大器、跨阻放大器芯片、100 G EPIC收发机芯片、4×25 GBaud高灵敏度跨阻放大器芯片、75-110 GHz高灵敏度成像接收机芯片等。以第一/通讯作者在国际一流期刊发表SCI论文20多篇,包括IEEE Trans论文19篇;获授权发明专利20多项,美国专利1项。任国家自然科学基金面上项目通讯评审,IEEE JSSC、T-CAS I、T-MTT等电路领域权威期刊审稿人,IEEE ICTA会议TPC及分会主席。
本研究工作得到了国家重点研发计划(2022YFB2802603)以及国家自然科学基金(62074065)等项目的资助。课题组具备良好的科研环境和资源,让每一位课题组成员都有充分机会参与前沿项目,得到科研素养培养。
原文链接:https://doi.org/10.1109/TCSI.2023.3242366